Katlanabilir İphone Geliyor!

Apple'ın katlanabilir bir iPhone modeli için LG ile birlikte çalışmalara başladığı belirtiliyor.

  1. Geçtiğimiz ay iPhone X modelini tanıtan ABD merkezli teknoloji devi şimdiden yeni cihazları ile ilgili iddialar ile gündemde.

    Geçtiğimiz ay iPhone X modelini tanıtan ABD merkezli teknoloji devi şimdiden yeni cihazları ile ilgili iddialar ile gündemde.

  2. Güney Kore medyasının şirketlere yakın kaynaklara dayandırdığı haberlere göre, LG ve Apple çok konuşulacak bir iPhone modeli için kolları sıvadı.

    Güney Kore medyasının şirketlere yakın kaynaklara dayandırdığı haberlere göre, LG ve Apple çok konuşulacak bir iPhone modeli için kolları sıvadı.

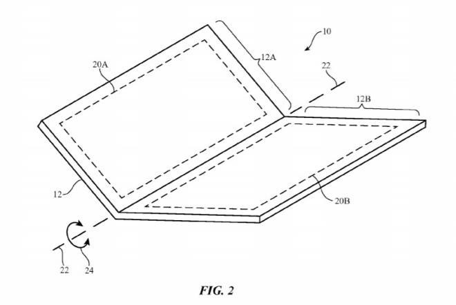
  3. Aynı iddiaya göre, söz konusu model ilk katlanabilir iPhone olacak.

    Aynı iddiaya göre, söz konusu model ilk katlanabilir iPhone olacak.

  4. İki firmanın zerinde çalışılan telefon 2020 yılında satışa sunulacak.

    İki firmanın zerinde çalışılan telefon 2020 yılında satışa sunulacak.

  5. Ancak bu kulvarda da Samsung Apple rekabetine sahne olacak.

    Ancak bu kulvarda da Samsung Apple rekabetine sahne olacak.

  6. Geçtiğimiz aylarda katlanabilir ekran patenti aldığı ortaya çıkan Samsung'dan yapılan açıklama ile bu proje resmiyet kazanmıştı.

    Geçtiğimiz aylarda katlanabilir ekran patenti aldığı ortaya çıkan Samsung'dan yapılan açıklama ile bu proje resmiyet kazanmıştı.

  7. Güney Kore merkezli teknoloji devi Samsung katlanabilir telefon modelleri için geri sayıma geçti.

    Güney Kore merkezli teknoloji devi Samsung katlanabilir telefon modelleri için geri sayıma geçti.

  8. Bir süredir iddiadan ibaret olan bu haberler geçtiğimiz hafta Samsung'dan yapılan açıklama ile resmiyet kazanmıştı.

    Bir süredir iddiadan ibaret olan bu haberler geçtiğimiz hafta Samsung'dan yapılan açıklama ile resmiyet kazanmıştı.

  9. Piyasadaki en büyük telefon üreticisi Samsung'un mobil biriminin başkanı Koh Dong-jin katlanabilir telefonlar için tarih vermişti

    Piyasadaki en büyük telefon üreticisi Samsung'un mobil biriminin başkanı Koh Dong-jin katlanabilir telefonlar için tarih vermişti

27 Ekim 2017